Inventors: T. H. MORAY (Thomas Moray)
Current U.S. Classification: 600/2; 361/232; 607/3
Patent number: 2460707
Filing date: Apr 30, 1943
Issue date: Feb 1, 1949
This invention relates to electrotherapeutic apparatus, and to methods of applying electrical, radioactive, and other radiant phenomena therapeutically.
The invention is primarily concerned with the a use of high potential, high frequency electricity though not necessarily limited thereto, in conjunction with radioactive and other types of electronic and radiation phenomena, for therapeutic purposes.
Among the objects of the invention are the following:
First.—To render highly effective, from a therapeutic standpoint, radioactive and other types of electronic and radiation phenomena, and, likewise, to render highly effective, from a therapeutic standpoint, high potential, high frequency electricity.
Second-.—To augment the therapeutic effect of radioactive and other types of electronic and radiation phenomena by the conjoint use of high potential, high frequency electricity, and, conversely, to augment the therapeutic effect of high frequency, high potential electricity by the conjoint use of radioactive and other types of electronic and radiation phenomena.
Third,—To accomplish the above without danger of burning or of otherwise harming the patient.
Fourth.—To provide apparatus for accomplishing the above, which is relatively simple in construction and operation and relatively inexpensive to produce and operate.
Fifth.—To provide novel electronic and radioactive devices especially adapted for use in conjunction with high potential, high frequency electrical therapy.
I have found that, hy enveloping a patient in a high potential, high frequency electrical field in such a manner that no closed circuit is completed through his body, radioactive and other electronic and radiation phenomena can be used therapeutically with considerably greater effectiveness than if used alone. The exact reason for this is not known, nor is it known definitely which, the electric field or the radioactive phenomena, acts upon the other to produce the advantageous results. It is thought, however, that the electric field, permeating the body of the patient as it does, attracts the radioactive emanations or radiations and enables them to penetrate considerably deeper into the tissues and vital organs of the patient than would otherwise be the case. In any event, remarkable therapeutic results have been achieved by use of the invention in the treatment of malignant tumors, arthritis, sinus infections, and various other diseased conditions.
The invention contemplates the use, in therapeutics, of high potential, high frequency electricity to produce diversified forms of radiant energy, such forms being those which have been found best suited, individually, to benefit various human ailments. In accomplishing this purpose, several special discharge tubes have: been developed, to serve as treatment electrodes, by means of which correspondingly different curative results are obtained. Throughout the practice of the invention, a. prime consideration is that Only one terminal of any particular circuit shall be in contact with a patient’s body at one time, so there will be. no flow of current through a closed circuit of which the patient’s body is a part. Such a terminal, too, is usually non-heat producing, so there is no danger of burning. In cases where there is a tendency, for a tube to produce X-rays or other, injurious rays, these are filtered out.
The present application constitutes a continuation in part of a copending application filed: by me November 15, 1940, which bears Serial No. 365,798 and is entitled “Method of and device for the-therapeutic application of electric currents and rays,” and which has now become abandoned.. In the accompanying drawings, which illustrate several embodiments of apparatus preferred for carrying the method of the invention into practice:
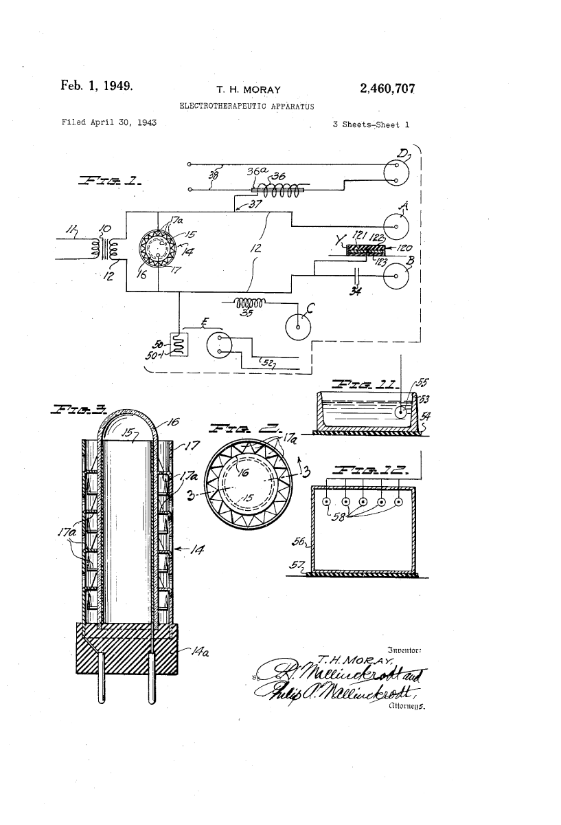
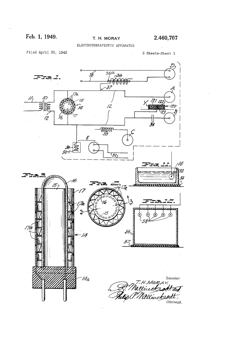
Fig. 1 represents a wiring diagram of a preferred embodiment of apparatus for carrying out the method of the invention in general therapeutic work, several independent treatment stations being provided;
Fig. 2, a top plan view of the novel corona regulator of Fig. 1, employed in. the circuit to control and adjust the current and as a governor to safeguard the transformer; Fig. 3, a vertical section taken on the line 3—3, Fig. 2; Fig. 4, a vertical section taken centrally through one novel type of discharge tube used as a treatment electrode in the apparatus of Fig. 1; Fig. 5, a horizontal section taken on the line 5—5; Fig. 4; Fig: 6; a vertical section taken centrally through another novel type of discharge tube used as: a treatment electrode in the apparatus of Fig. 1; Fig. 7, a: horizontal section taken on the line T— 7, Fig. 6; Fig. 8, a vertical section taken centrally through a novel discharge tube used as a treating device in the apparatus of Fig. 1; Fig. 9, a horizontal section taken on the line 9—9, Fig. 8; Fig. 10, a fragmentary vertical section taken on the line 10—10, Figs. 8 and 9; Fig. 11, a fragmentary view in vertical section, and drawn to a reduced scale, of a tub bath capable of use as a treatment station in the apparatus of Fig. 1; Fig. 12, a view similar to that of Fig. 11, but showing a shower or vapor bath arrangement for the same purpose; Fig. 13, a wiring diagram similar to that illustrated in Fig. 1, but fragmentary in nature, and of a somewhat different embodiment of apparatus; Fig. 14, an elevation, partly in central vertical section, of a novel tube used in the apparatus of Fig. 13 in place of the corona regulator of Figs. 2 and 3; Fig. 15, a top plan view, partly in horizontal section on the line 15—15, Fig. 14, of the tube of Fig. 14; Fig. 16, a vertical section of another novel tube which may be used in place of the tube of Figs. 14 and 15; Fig. 17, a vertical section taken on the line IT—IT Of Fig. 16; Fig. 18, a top plan view of still another novel tube which may be used in place of the tubes of Figs. 14 and 15 and of Figs. 16 and 17; and Fig. 19, a vertical section taken on the line 19—19 of Fig. 18.
In accordance with the invention, provision is made for enveloping the patient in a high potential and, in certain instances, a high frequency electric field, and for applying to the patient, while so enveloped in the electric field, radiations and emanations having therapeutic value.
See images below or download PDF for full text of this patent.








