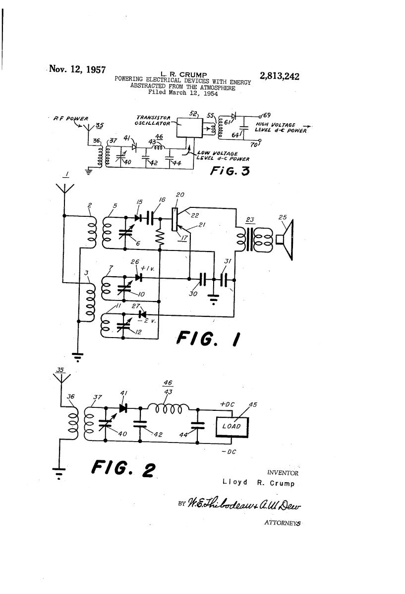
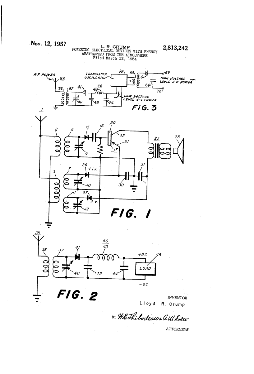
Powering electrical devices with energy abstracted from the atmosphere

Patented November 12, 1957 by Lloyd R. Crump

Click images to see bigger version

Download PDF version of Crump’s R.F. to Electrical Current Converter.