Application Number: GB19530017167 19530622
Publication Number: 763062 (A)
Application Date: 1953-06-22
Publication Date: 1956-12-05
Assignee: Harold Victor Colman, Ronald William David Seddon Gi
IPCL: G21H 01/00
We, HAROLD VICTOR COLMAN, a British Subject of 45, Southlands Road, Birmingham 13, formerly of 17, Cole Valley Road, Hall Green, Birmingham, in the County of Warwick, and RONALD WILLIAM DAVID SEDDON-GILLESPIE, a Canadian Citizen, of 54, Wolverton Road, Rednal, Birmingham, in the County of Warwick, do hereby declare the invention, for which we pray that a patent may be granted to us and the method by which it is to be performed, to be particularly described in and by the following statement:
This invention relates to a new apparatus for producing electric current such apparatus being in the form of a completely novel secondary battery.
The object of the present invention is to provide apparatus of the above kind which is considerably lighter in weight than and has an infinitely greater life than a known battery cr similar electrical characteristics and which can be re-activated as and when required in a minimum of time.
According to the present invention we provide apparatus comprising a generator unit said unit including a magnet adapted to produce a magnetic field, means for suspending a chemical mixture in said field, said mixture being composed of elements whose nuclei becomes unstable as a result of bombardment by short waves so that the elements become radio-active and also release electrical energy, said mixture being mounted between and in electrical contact with a pair of different metals, such as copper and zinc, a condenser mounted between said metals, a terminal electrically connected to each said metal, means for conveying said waves to said mixture and a lead shield surrounding said unit to prevent harmful radiation from said mixture.
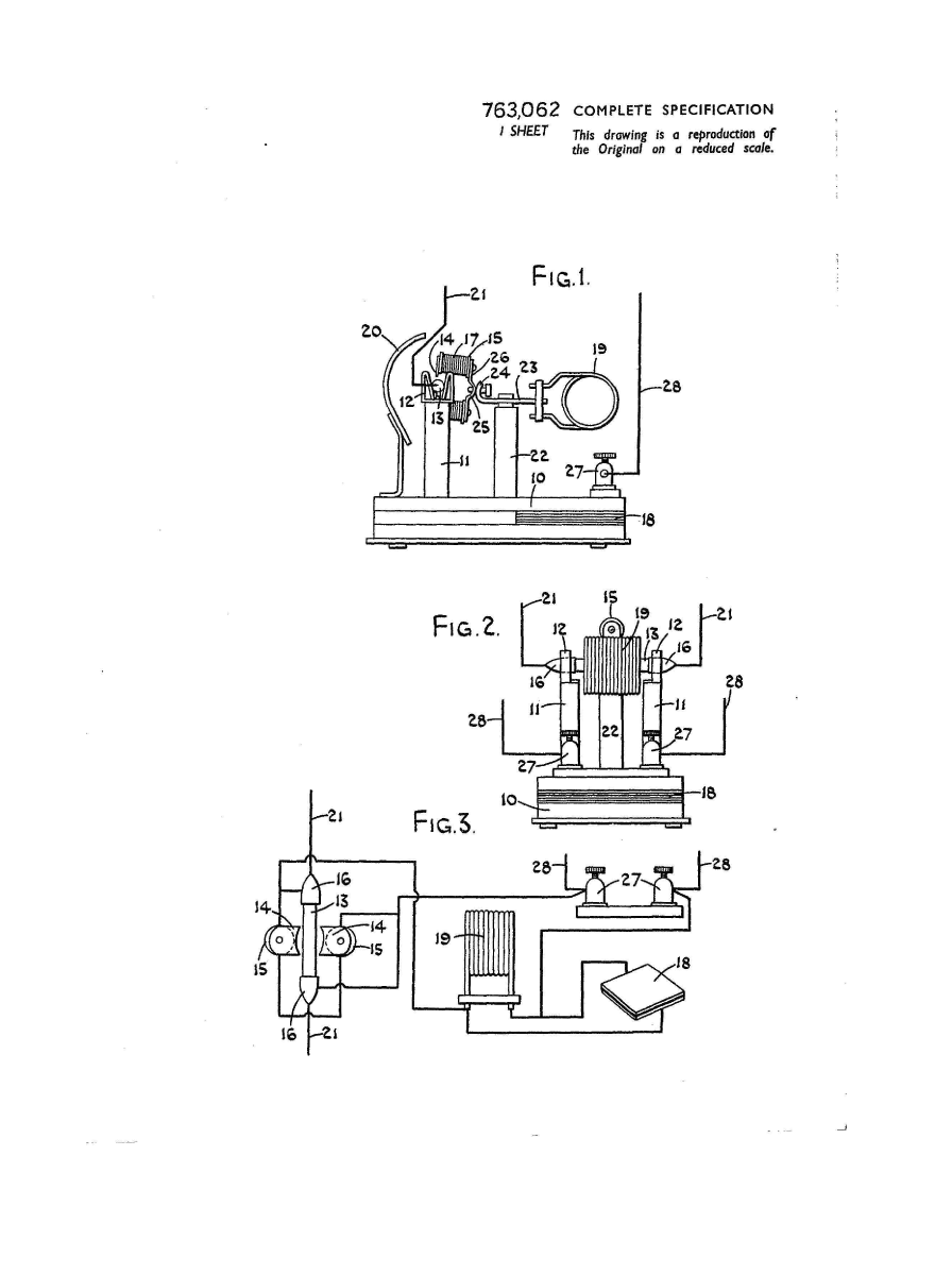
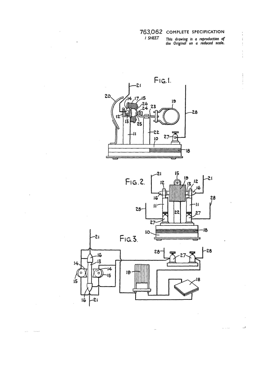
The mixture is preferably composed of the elements Cadmium, Phosphorus and Cobalt having Atomic Weights of 112, 31 and 59 respectively. The mixture which may be of powdered form is mounted in a tube of non-conducting, high heat resistivity material and is compressed between granulated zinc at one end of the tube and granulated copper at the other end, the ends of the tube being closed by brass caps 30 and the tube being carried in a suitable cradle so that it is located between the poles of the magnet.
The magnet is preferably an electro-magnet and is energized by the current produced by 55 the unit.
The means for conveying the waves to the mixture may comprise a pair of antennae which are exactly similar to the antennae of the transmitter unit for producing the waves, each antenna projecting from and being secured to the brass cap at each end of the tube.
The transmitter unit which is used for activating the generator unit may be of any conventional type operating on ultra short wave and is preferably crystal controlled to the desired frequency.
The invention is illustrated in the accompanying drawing wherein FIGURE 1 is a side elevation of one form of apparatus FIGURE 2 is an end elevation thereof and FIGURE 3 is a segmatic circuit diagram. In the form of our invention illustrated the generator unit comprises a base 10 upon which the various components are mounted this base 10 having projecting upwardly therefrom a pair of arms 11 which are adapted to form a cradle or housing 12 for a quartz tube 13 the cradle 12 being preferably made of spring material so that the tube 13 is firmly, yet removably held in position. The arms 11 are so disposed in relation to the poles 14 of an electro-magnet 15 that the tube 13 when in position is disposed immediately between the poles of the magnet so as to be in the strongest magnetic field created thereby. The magnet serves to control the alpha and beta rays emitted by the cartridge when it is in operation… See full text by clicking on preview below or download pdf version












