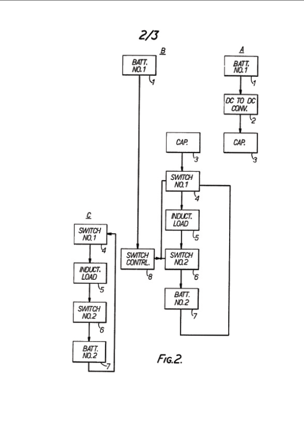
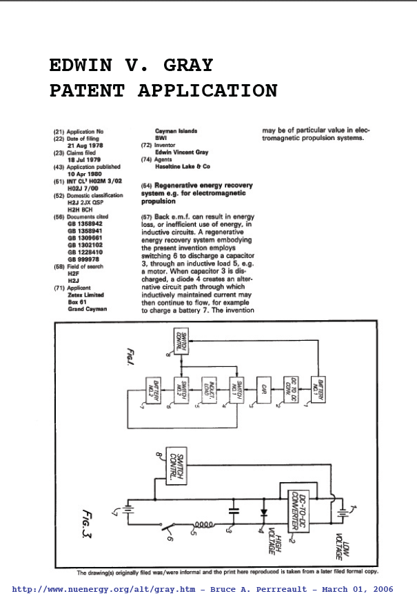
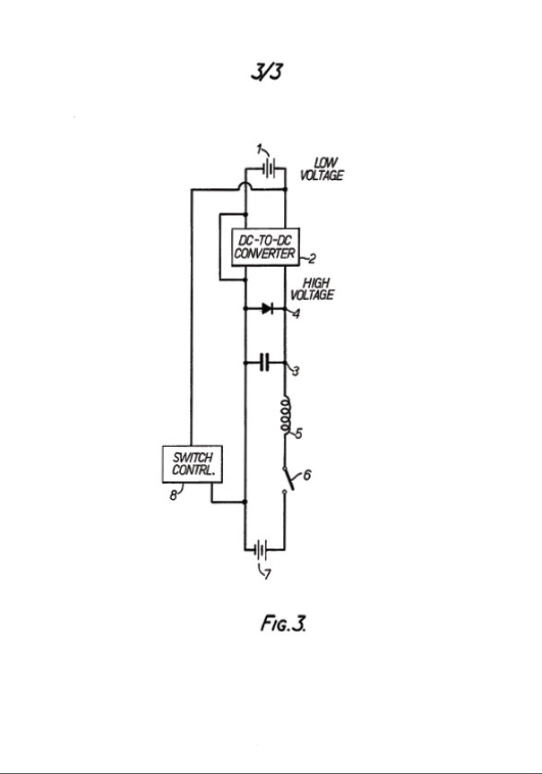
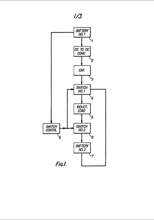
Edwin Gray’s Missing Patent Application
Download PDF version of this patent
NuEnergy is committed to sharing easy ways to go green with eco-friendly tips, renewable energy info, green business ideas, as well as tips and tricks for living a green lifestyle.
Did you know that there are tons of plants with health benefits to choose from that can remove toxins from the air and help you sleep better? Whether you want to liven up your home or try your hand at gardening, working with plants can also work wonders for your well-being. While this hobby is rewarding, it…
Read MoreDon’t you hate it when you’re in the middle of your favorite TV show and the reception goes out? It’s frustrating, especially if it happens often. You feel like throwing your remote toward the TV. You don’t have to be a rocket scientist to know how your HDTV digital indoor antenna works to fix it. There…
Read MoreDid you know that over 100 people die every year in the United States from trees falling? Although trees are majestic and beautiful, they can become a serious threat when they suffer damage or collapse completely. Have you ever asked yourself the question, “Do I need to remove my trees?” If so, you may need…
Read MoreSo you’re looking to hire a solar contractor? The solar installation experience can be daunting. If you don’t know what you are doing you can easily get scammed by a dodgy contractor. Imagine, paying out thousands of dollars to find out that the contractor didn’t properly install your solar panels, or worse disappears halfway through…
Read MoreEwa Beach, Hawaii has the highest percentage of solar-powered homes with 6.282% of residents utilizing the power of the sun. As time moves forward, we are going to see more and more communities using solar panels for their homes. Solar panels are taking over the world, and if you’re not on board already, you’re probably figuring…
Read MoreHow environmentally friendly is your HVAC? Though air conditioning is not very eco-friendly, the more advanced HVAC systems are, the more efficiently they run. Still, as of 2018, 12 percent of US home energy consumption comes from air conditioning. Therefore, it’s important to try to reduce the carbon footprint of your new HVAC system. Check…
Read MoreThe average American spends around 112 dollars on their power bill each month. This amount varies depending on the state you live in and the amount of electricity you use. While you may not have control over the state you live in you do get to have control of your electricity intake. There are more…
Read MoreDid you know that the average office employee uses about 10,000 pieces of printer paper every year? In some businesses, it’s difficult to find ways to cut down on paper waste. However, every business can easily switch to electronic pay stubs. Electronic pay stubs can reduce your paper usage, along with bringing other efficient qualities…
Read MoreThere are only 11 years left to make massive changes in the way we power our lives. If we don’t, we face horrible environmental destruction. Electric utility companies have a massive impact on where we source our energy. By default, they typically decide whether we use carbon creating fuels. Most energy comes from burning coal…
Read More