Process for the production of Radioactive Substances
Inventor: Enrico Fermi
Original Assignee: G
Current U.S. Classification: 376/188; 252/625; 252/644; 310/301; 376/156; 376/158; 376/168; 376/181; 376/182; 376/184; 376/185; 376/189; 376/904; 423/263; 600/1
Patent number: 2,206,634
Filing date: Oct 3, 1935
Issue date: Jul 2, 1940
This invention relates to the production of isotopes of elements from other isotopes of the same or different elements by reaction with neutrons, and especially to the production of artificial radio activity by formation of unstable isotopes.
It has been known for many years that, although each chemical element has always the same atomic number or charge, it may exist in different forms having different atomic weights. These forms of the elements are referred to as isotopes.
It has also been known that the radio-active elements, by disintegration or break down occurring in their nuclei are spontaneously converted into various isotopes of other elements. Thus, for example, the radio-active element uranium may be converted into lead of atomic weight 206, while the element thorium may be converted into a different isotope of atomic weight 208.
It has long been known that such spontaneous disintegration of radio-active elements is accompanied by emission of alpha, beta, and gamma rays, that is to say, of the helium nucleus, electrons, and electromagnetic radiation of extremely short wave length.
In more recent years it has been demonstrated that isotopes of various elements could be converted into other isotopes of the same or different elements by bombardment with alpha particles, diplons, protons or gamma rays of very high energy, and that the isotopes thus produced may be unstable so as to decompose with features similar to those of the naturally radio-active bodies. That is to say, radio-active isotopes may, in this way, be artificially produced.
Accordingly, it is an object of the present invention to provide a method and apparatus by which nuclear reactions can be carried on with high efficiency and with the heavier as well as with the lighter elements. A more specific object of the invention is to provide a method and apparatus for artificially producing radio-active substances with efficiency such that their cost may be brought below that of natural radio-active materials.
Our invention is based upon the use of neutrons instead of charged particles for the bombardment and transformation of the isotopes.
All of the prior work on nuclear reactions has been done with high energy particles and every effort has been bent toward increasing the energy of the particles as the means of extending and making more efficient the nuclear reactions. We have now discovered that effort in this direction is sound only when charged particles are used which require tremendous energy to break through the potential barrier surrounding the nucleus; and that if, instead of charged particles, neutrons are used for the nuclear reactions, the greatest efficiencies are in some cases attained with low energy or “slow” neutrons, e. g., of the order of a few hundred electron volts, or even much less down to a small fraction of an electron volt.
Neutrons when produced in any ordinary manner, e. g., by the action of radon on beryllium or of polonium on beryllium or by bombardment of atomic nuclei with artificially accelerated particles, might have a very wide range of energies but high average energy. These energies range up to several million volts. It is necessary, therefore, if the greatest efficiency of reaction is to be attained, to reduce by artificial means the energy of these neutrons. We describe below a method for slowing down fast neutrons.
We have demonstrated that the absorption of slow neutrons is anomalously large as compared with that of the faster or higher energy neutrons. The simplest explanation for most eases is to admit that the neutron is captured by the 25 nucleus with formation of an isotope heavier by one mass unit. If this heavier isotope is unstable a strong induced radio-activity may be expected. This occurs, for example, with silver and iridium which go over into radio-active isotopes. In other 30 cases it is found that no activation, or at least no strong activation, follows an anomalously large absorption. This is the case with many elements, e. g., yttrium and cadmium. In these cases the formation of a stable nucleus upon the capture of the neutrons is to be expected.
In some cases the absorption of the slow neutrons results in the emission of a relatively strong gamma-radiation with energy corresponding to the binding energy of the neutron. This gives a reliable source of very hard gamma rays, even harder than the naturally produced gamma rays, e. g., from radium.
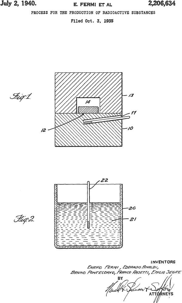
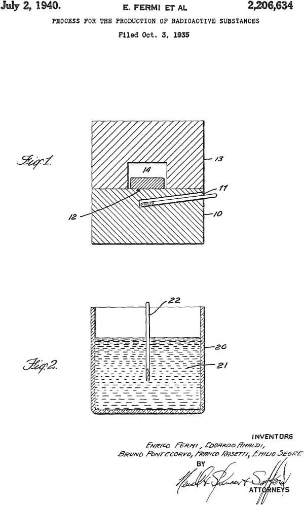
In view of these considerations it is obviously desirable to convert as many as possible of the 45 available neutrons into the slow or low energy condition in which they may be readily captured by the nuclei of the substance being reacted. We have found that it is possible to achieve the desired results by passing the neutron radiation 50 against or through a screen of a suitable material.
The materials which have been found best suited to this purpose are those containing hydrogen (including all its Isotopes, but the light … click image below to continue reading the patent.
Download PDF version of patent US2206634








