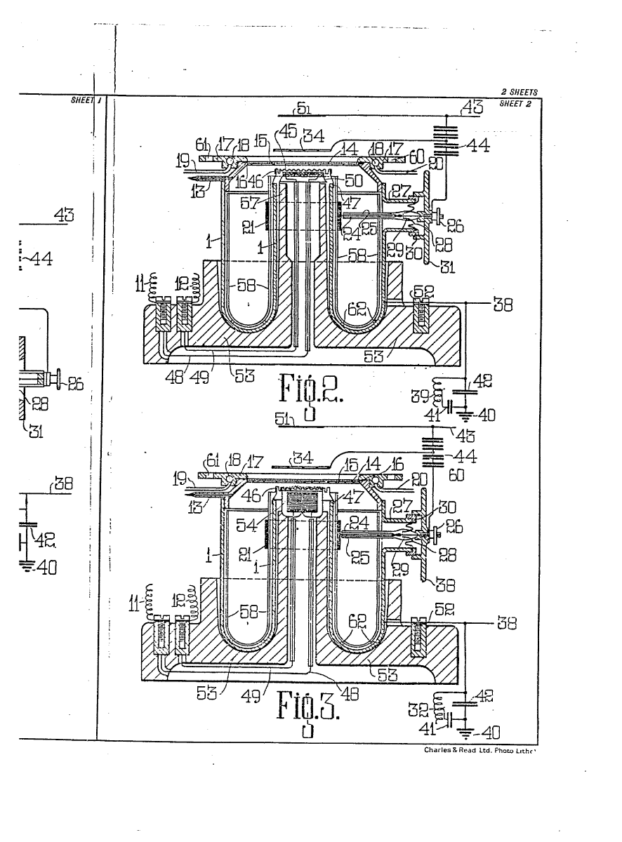
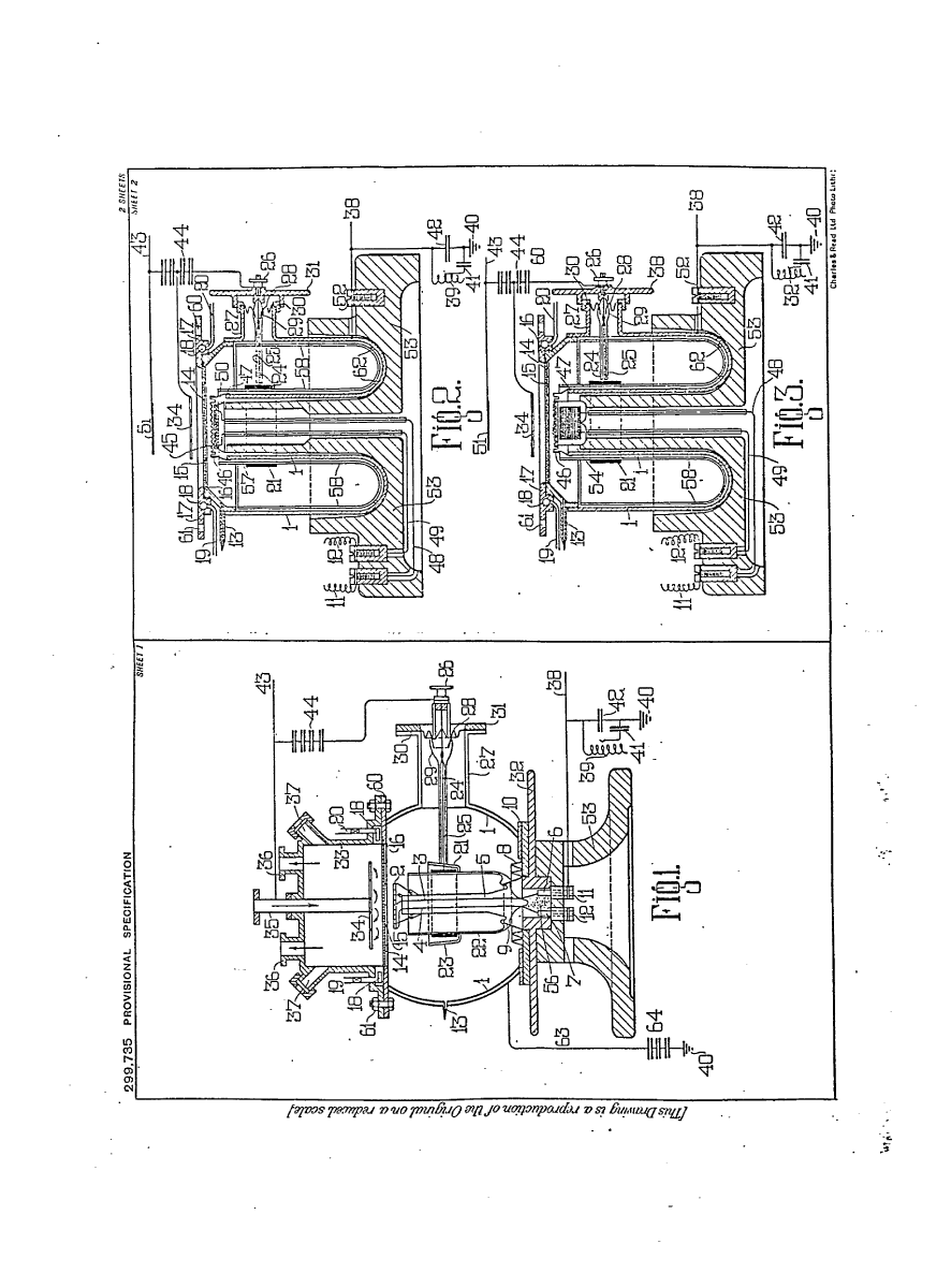
Process and Apparatus for Producing Rapidly Moving Electrons and for Subjecting Matter thereto
299,735
Patent specification
Application Date: May 30, 1927
Complete Left: February 29, 1928
Complete Accepted: October 30, 1928
Click images to see bigger version
Download PDF version of Beta Ray Device (GB299735) by H. Plauson
















