This application is a continuation-in-part of the combined subject matter of copending patent application Serial No. 830,587, filed June 4, 1969, for an improvement in: Means and Process Separation, Transformation, Control, and Extraction of Minerals, and Chemicals and Media from Liquids, Solids, and Gases, and the Devitalization and/or Control of Bacteria, Worms, Virus, and Fungi; and Power Generation with Steam and Gas Turbine Prime Movers and Conventional Methods 1n Various Applications with Solar Energy, and now abandoned; this application also replaces another complete revision transmitted on September 5, 1971 for which no new serial number was assigned.
ABSTRACT OF THE DISCLOSURE
Pollution is controlled by means and process separation, transformation, deionizing and extraction of elements from liquids gases and solids. Pollution of air, water, and soil by sewage, refuse, and other contaminants is eliminated; elements are recovered as marketable items. The cause of disease is controlled by combinations of applied electromagnetic, cosmic, and magnetic energy that devital’izes viruses, bacteria, worms, fungi, and fcod poisoning in humans, animals, foods, liquids, gases, and other mediums. In addition to being indirectly controlled, air pollution is directly controlled by the production and use of heat from liquid hydrogen and solar energy heaters, which do not pollute.
Concentrated solar heat energy is applied to heat sinks that can distill water into steam and brine. Steam is used to drive turbine driven generators that make electricity. Brine is used to preheat and distill water when the sun is insufficient and also is a source of minerals that are recovered. Steam from turbines may be superheated and recycled or converted into fresh water.
Virus Eliminators control microorganisms in liquids, stop corrosion from microorganisms in liquids, distill water in pipes, and prevent piped liquids from freezing. Sewage and refuse, trash, and garbage are steamed, sorted out, and separated. Elements are recovered and made to yield compost and nutrient water for commercial farming. Other process bi -products are fresh water, brine, and dried solids which also become products for sale from process separation.
CROSS REFERENCES TO RELATED APPLICATIONS
No complete systems for control of water table level, soil, air and water pollution, and other liquid or gaseous or solid type pollution have been found in the patent search. It is obvious that without a complete system, there could be no patent protection for a pollution control process.
Reference is made to a patent of Pierre Nicolardot entitled “Method of and Device for the Treatment of Solid, Liquid and Gaseous Substances,” Serial No. 226 787, dated February 5, 1960. Mr. Nicolardot’s patent claims a Type I and Type II oscillator, but no circuit is given for either type nor is either type identified in the drawings. He states that a vibrator or vibratory energy is used; but no vibrator is shown in the drawings and he further states (in paragraph 2 of column 27) that oscillators will work on direct current. It is submitted that no oscillation is possible with direct current. He states that a one or two color lamp of Fig. 4 and Fig. 7, identified as Detail No. 9, produces an electric field when the light is passed through a condenser lens system as shown in Fig. 7, Detail 11, which is viewed as a physical impossibility; nor can it be resolved that electromagnetic or electrostatic field is the result of heat condensation from the condenser lenses.
No claim is made for the amount of current required to accomplish this task by an infrared or ultraviolet lamp such as is suggested. Even a most sensitive vacuum tube voltmeter’s probes placed in an area designated in Fig. 7 or Fig. 9 would measure zero voltage. The term “modulation,” which is represented by vibratory resonance, does not modulate frequencies from a master oscillator as modulation is defined in electronic terms in “International Dictionary of Physics and Electronics” (published by D. Van Nostrand Co.) for which Claim 1 ts cited. Any effect would be a surface effect only and owing to insulation effects could not penetrate deep through a body such as a human body or through a large tank of liquid brine.
BACKGROUND OF THE INVENTION
(1) FIELD OF THE INVENTION:
The invention relates to various combinations:
- To pollution controls embraced in means and process separation, transformation, control, and extraction of minerals, chemicals, and media from liquids, solids, and gases, and the devitalization and/or control of bacteria, worms, viruses, and fungi;
- To power generation with steam and gas turbine prime movers and methods in various applications with solar energy ;
- To solar energy which utilizes optics for solar heat, steam and gas turbines for converting steam into fresh water, brine that is used as an auxiliary heat source;
- To treatment of harmful microorganisms that is used to eliminate diseases and corrosive environmental destruction in pipes and metals and freezing of pipes and pH control in pipes and systems ;
- To process separation of elements to be reclaimed by electronic, cosmic, and magnetic means;
- To sewage and refuse recovery to market reclaimed products and elements and compounds;
- To water conversion systems to remove the pollution of water and eliminate contamination and to reclaim it as a marketable item;
- To conversion of water and brine into hydrogen, oxygen, and chlorine gas for recovery and marketing wherein hydrogen is made from the solar energy process and liquified into non-polluting fuel for storage and reuse;
- To extraction of gases, minerals, elements, and compounds from polluted or non-polluted sources;
- To balance rotary parts and provide power to do work;
- To recover smoke and to replace smokestacks where elements are recovered from liquids;
- To separate liquids into selective continuous flow gravity type units;
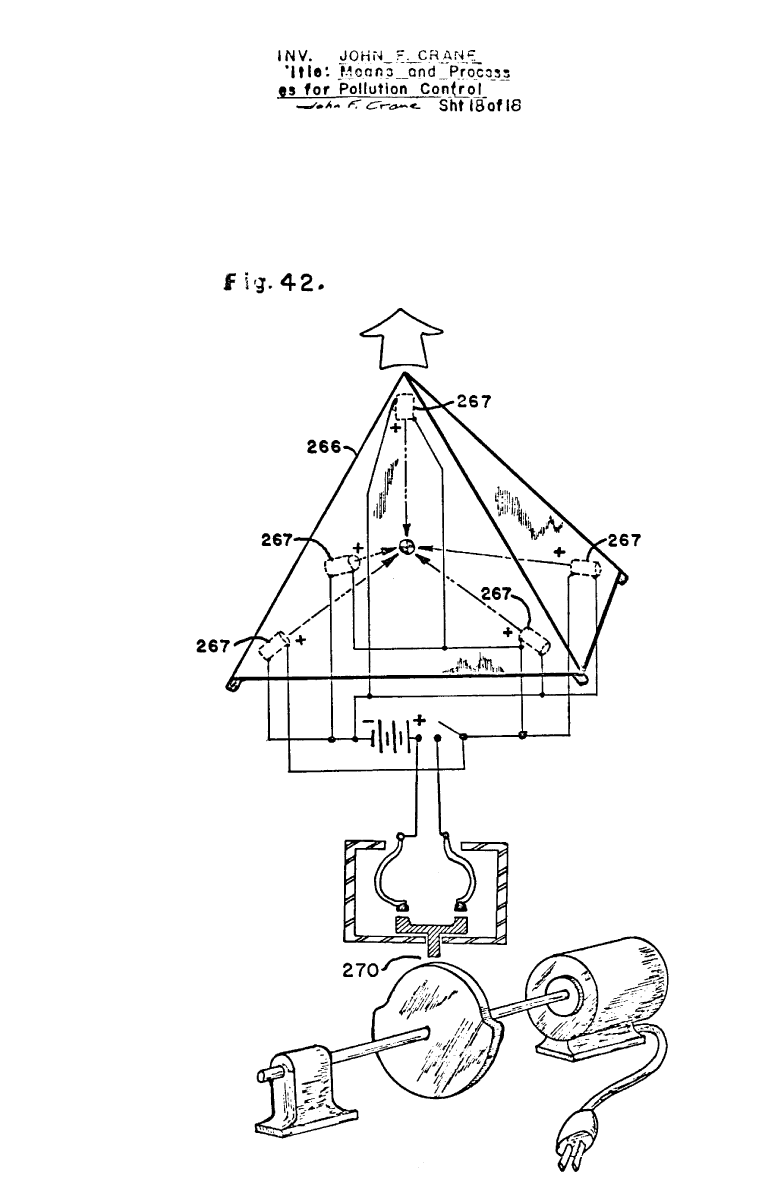
- To provide electromagnetic pyramids for retarding old age. The Public Health Service calls pollution “a national disgrace.” Even now, stench-ridden water resources are sprawling out of control. This invention is necessary for water conversion, purification, product recovery, and marketing on effective and practical levels, which is absolutely necessary for our health and survival.
(2) DESCRIPTION OF PRIOR ART
Power from the sun is being wasted at a rate that is conservatively estimated to be 250 billion horsepower per second. The pollution crisis needs its use to reverse all cycles of pollution and disease. One of the most significant facts bearing upon use of solar heat is its storage in the form of liquid hydrogen as a non-polluting fuel energy. In the past it has been proposed to use energy stored in batteries. It was determined that solar heat was available 40 per cent of each 24 hour period when the sun shines. The utilization of solar heat to make large volumes of steam has failed for many years because heat has most generally been concentrated in one small area. This is illustrated by use of a small hand magnifying glass that focuses the solar energy from the sun into one small spot. If the spot is on a piece of paper, and if the glass is powerful enough, the paper will burn.
Steam, power of steam expansion, and its ability to do work were known to the ancients. The steam prime mover came into being in 1883 with de Laval’s steam turbine. He provided axial flow for steam through turbine blades. Steam and gas turbines built since that date have, for the most part, continued to be of axial flow designs which result in great losses of overall efficiency due to internal gas flow friction, power produced by turbines has long heen used to drive electric generators. Electric generators use principles of electric Induction as periodic variation of the flux of magnetic lines of force, which makes electricity. The generator has an internal rotating magnetic field which revolves between fixed poles of the stator. To eliminate vibration of moving parts, the usual way is to balance the rotating member statically and dynamically by adding or removing small amounts of material opposite the unbalanced side.
Brine from heated, polluted, brackish, or saline water is a heavily saturated salt in water which boils at 226°F at atmospheric pressure. Sodium chloride melts at 1474°F and boils at 2575°F. Infrared heating panels with ceramic reflectors are self-cleaning and provide heat up to 2500°F.
To recover gases from solutions, electrolysis is used to decompose a ch.em.ical compound by passing a current of electricity through a solution of the compound.
Sewer systems have used the following disposal methods: by dilution with flowing water and discharging the mass into streams and oceans; by broad irrigation or sewage farming, where liquid sewage is run over a large area of land and left to .oxidize in the air; by chemical filtration, sedimentation and treatment, so as to kill organic life with chemicals and make solid matter or sludge available as extremely low grade fertilizing material.
The peril of the pollution is in the air, water, and soil. Rivers have become open sewers. It is predicted that if pollution continues at the present rate, that by 1990 all 22 river systems in this country will be biologically dead. Raw sewage, harmful chemicals and refuse are being dumped into our rivers and oceans. Chemicals, animal dung, acids, poisons generated by industry, silts and salts drained by strip mines, products of gasoline combustion, crankcase oils, detergents, disease-carrying microorganisms, herbicides, pesticides, radioactive contaminants, hot water from mines and atomic plants, garbage and filth, if allowed to continue, may soon cause man’s extinction. Recovery of refuse and sewage has employed a variety of processes, including: filters, classifiers, shredders, centrifugal separators, air pressure separators, bailers, air classifiers, magnetic separators and water classifiers, vibrators, shakers, vibrating screens, conveyors, dump trucks, and barges for water dumping.
Some smoke stacks have been increased in height to carry pollutants to higher air levels up to 600 feet; others are being planned over 1000 feet high. In the roundhouse at Chicago, where several locomotives gave off much smoke, an arrangement was used by which a large fan sucked the smoke through a wall of water. While it washed out the soot and carbonaceous matter, it was not practical because of operating cost. To recover elements from liquids, electrochemical industries have used electrolytics , including: Electroseparation, electrowinning , electrorefining, and electrodeposition.
About 60 per cent of our land is arid and incapable of supporting agriculture. Water must be returned to maintain pumped-out reserves, to keep precious underground reservoirs replenished, and to establish new water tables in arid lands.
The present lack of controls for nutrient concentrations and proper acid or alkaline concentrations in soil can, in many instances, cause food to poison life systems, especially when cancer-causing pesticides are applied to food and soil and when food is grown on pH nutrient unbalanced inorganic soils. The hospitals are full of drug victims, pesticide cases, and virus patients who find it impossible to obtain balanced nutritious food grown from balanced soil, and thus to recover.
Radiation has been the lethal form of energy employed by our medical profession to devitalize bacteria, worms, viruses, and fungi; but tt has been proven that radiation is a major cause of cancer, can make cancer Ytrus virulent, and causes massive internal radiation burns in human and animal tissue, with subsequent resort to pain-killing and addictive drugs to prevent loss of sanity. X-rays and radiation have been demonstrated in case after case to cause permanent injuries.
Many doctors have already barred the use of x-rays and radiation, and they personally suffer from lifelong radiation burns that have caused permanent growths and handicaps. Antibiotics and other drugs have been tried for the control of pathogenic diseases, but are only superficially effective and sometimes even fatal, and cause more drug-resistant strains of disease bacteria, and microworms to develop every year. Some side effects have become permanent injuries and have led to birth defects such as in the thalidomide disasters.
In 1931, Royal R. Rife discovered a virus which caused cancer tumors to grow in over 400 consecutive albino rat injection tests. Rife isolated the virus each time from the tumor of the preceding rat. With Frequency Instruments he devitalized the cancer viruses as well as other pathogenic viruses, worms, bacteria, and fungi. The devitalization of cancer viruses and the other causes of diseases enabled the body to cure itself. These facts were founded on thousands of clinical and laboratory tests in and out of the Rife Research Laboratory in Arizona and in California.
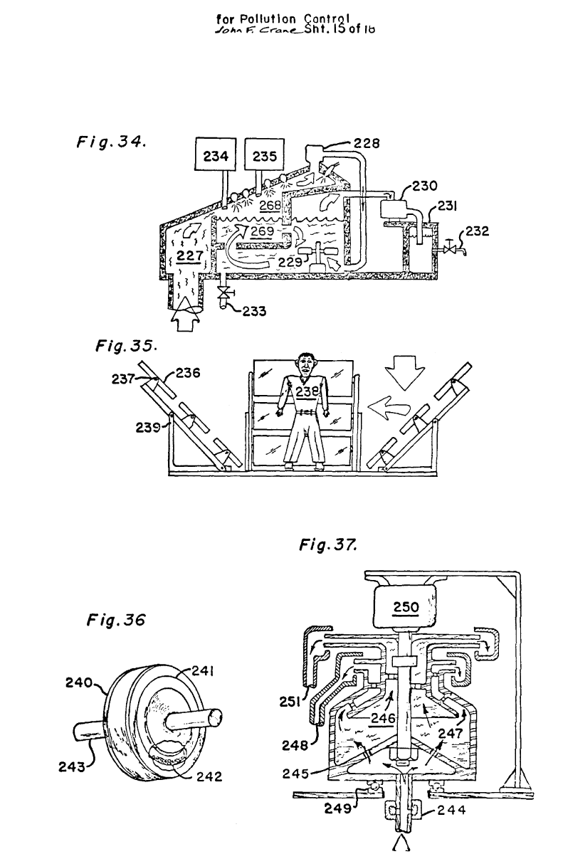
Drawings
To read full text of this article, please download pdf version.


















